Космическая ликвидация скидки 30% 50% и 70%.

Встраиваемый светодиодный светильник Lightstar Forte Inca 213849 во Владивостоке

Акция 50%
В наличии
Доставка 0₽
Гарантия 1 год
Код товара: 2230880

Общее:

  • Артикул: 213849
  • Производитель: Lightstar
  • Страна: Италия
  • Коллекция: Forte Inca

Размеры:

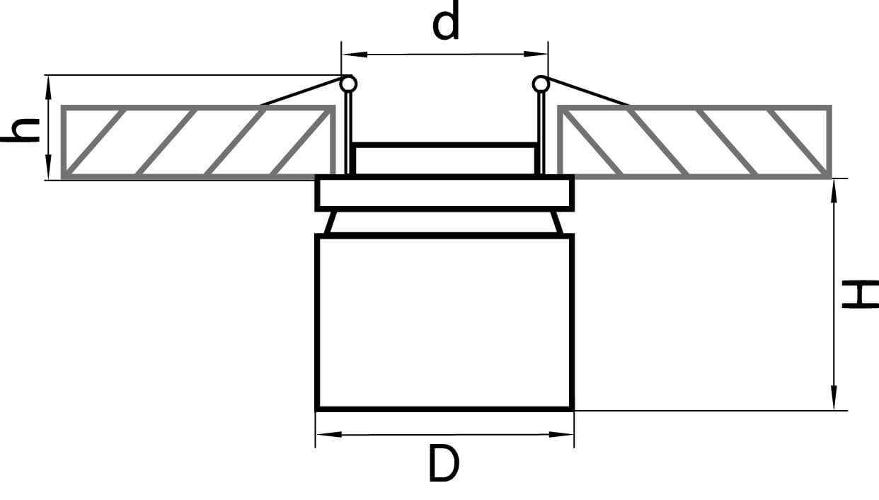
  • Диаметр: 126 мм (12.6 см)
  • Высота: 117 мм (11.7 см)

Технические характеристики:

  • Количество ламп: 1 шт
  • Мощность лампы: 40 W
  • Общая мощность: 40 W
  • Тип цоколя: LED
  • Цветовая температура, K: 3000

Цвет и материал:

  • Цвет: Серые
  • Цвет плафонов: Серый
  • Цвет арматуры: Черный
  • Материал: Металлические
  • Материал плафонов: Металл
  • Материал арматуры: Металл

Из той же серии

Комплектующие

Все характеристики 213849

Основные параметры:

  • Артикул:
    ?
    Это оригинальное обозначение товара для его максимально быстрого поиска.
    213849
  • Производитель: Lightstar
  • Страна: Италия
  • Коллекция:
    ?
    Это несколько изделий с уникальными чертами, в одном стиле и цветовой гамме.
    Forte Inca
  • Тип:
    ?
    Способ крепления и установки люстры.
    Накладные, Светодиодные
  • Назначение:
    ?
    Предполагаемое помещение установки прибора.
    Для магазина

Размеры:

  • Диаметр:
    ?
    Расстояние от одной точки окружности до другой.
    126 мм (12.6 см)
  • Высота:
    ?
    Максимальный размер предмета по вертикали.
    117 мм (11.7 см)

Внешний вид:

  • Стиль:
    ?
    Совокупность признаков, черт, создающих целостный образ, направления, индивидуальной манеры идейного содержания и художественной формы.
    Хай-тек
  • Цвет: Серые
  • Цвет плафонов: Серый
  • Цвет арматуры: Черный
  • Материал плафонов: Металл
  • Материал арматуры: Металл
  • Форма плафона: Цилиндр

Лампы:

  • Тип цоколя:
    ?
    Тип электрического контакта с лампочкой.
    LED
  • Тип лампочки: Светодиодные (LED)
  • Мощность лампы:
    ?
    Мощность один из важных параметров лампы — мощность лампы измеряется в (Вт.W)
    Мощность связана с величиной светового потока люмен (Lm), и от неё зависит яркостью лампы.
    40 W
  • Количество ламп: 1 шт
  • Общая мощность: 40 W
  • Световой поток, lm: 3 400
  • Цветовая температура, K:
    ?
    Цветовая температура – это характеристика интенсивности излучения источника света. Ниже пример как меняется тип света в зависимости от цветовой температуры.
    2700-3600 К – теплый белый (рассвет/закат)
    3600-5200 К - белый нейтральный (свет луны)
    5200-7000 К - белый холодный (облачное небо)
    3000
  • Срок службы, ч: 20000
  • Лампы в комплекте: Да

Дополнительные параметры:

  • Степень защиты, IP:
    ?
    IP ( International Protection ) – международный показатель степени защиты от проникновения в прибор, пыли и влаги.
    20
  • Место установки: врезные
  • Вес: 1,19
  • Длина коробки: 130 мм
  • Ширина коробки: 130 мм
  • Высота коробки: 140 мм
  • Объём упаковки: 0,002366 куб.м
  • Вес с упаковкой: 1,194 кг

Вопросы и ответы

Какие сроки доставки?
2-3 рабочих дня Москва и обл
Какими транспортными компаниями?
Сдэк, Пэк, Деловые линии, Байкал сервис, Почта России, КИТ, Желдорэкспедиция
Как я вам могу оплатить заказ?
При получении заказа курьеру наличными либо картой по терминалу. На сайте пройдя по ссылке, от юр лица по реквизитам по счету.
Могу ли я вернуть либо обменять товар, если он не подошел?
Да, конечно можете, обмен и возврат осуществляется в будние дни с 10-18 в течении 7-ми рабочих дней с момента покупки
Мне нужен светильник (люстра) с конкретными параметрами. Как мне это сделать?
Связаться с нами и мы вас проконсультируем, если самостоятельно выбираете раздел изделия (люстра, светильник итд.) и слева откроется поле в виде под разделов (фильтр) выбираете параметры важные для вас.
Идут ли в комплекте к светильнику лампочки?
К сожалению не все производители укомплектовывают изделия лампочками. По конкретному изделию нужно уточнять у наших менеджеров (консультантов)
7 804 ₽ 3 999 ₽
На складе 107 шт.
Рейтинг магазина
Встраиваемый светодиодный светильник Lightstar Forte Inca 213849
Купить "Встраиваемый светодиодный светильник Lightstar Forte Inca 213849"

Отзывы покупателей

Ваш отзыв может быть первым.
Написать отзыв
Товар добавлен в избранное
Товар добавлен в избранное
Перейти в избранное
Товар добавлен в сравнение
Товар добавлен в сравнение
Перейти в сравнение
Товар добавлен в корзину
Товар добавлен в корзину
Перейти в корзину
Выберите Ваш город
Мы используем Cookies чтобы все отлично работало, оставаясь у нас вы соглашаетесь с их обработкой.